扫码下载APP
及时接收最新考试资讯及
备考信息
摘要:广西2025年初中级经济师网上填报时间:7月28日8:00至8月7日17:00,网上缴费时间:7月28日8:00至8月11日17:00,网上人工核查时间: 7月28日至8月8日17:00。
关于做好2025年度初级、中级经济专业技术资格考试广西考区考务工作的通知
根据《人力资源和社会保障部人事考试中心关于做好2025年度初级、中级经济专业技术资格考试考务工作的通知》(人考中心函〔2025〕28号)精神,为做好2025年度初级、中级经济专业技术资格考试广西考区考务工作,现将有关事项通知如下:
一、考试时间、形式及考场设置
2025年度初级、中级经济专业技术资格考试(以下简称“初中级经济考试”)将于11月1日、2日举行,考试形式为电子化考试(即机考)。
初中级经济考试分2天,上、下午共4个批次实施(附件1)。各级别及专业类别的具体批次划分和考试时间以准考证上的信息为准。
初中级经济考试各科目考试时长均为1.5小时。对于同时报考公共科目和专业科目的应试人员,两科目考试在同一批次内分2个场次连续组织,间隔时间为40分钟。
初中级经济考试考场设置在南宁市,具体地点以准考证上的信息为准。
二、专业类别、应试科目及成绩管理
(一)专业类别和应试科目设置。
初中级经济考试均设工商管理、农业经济、财政税收、金融、保险、运输经济、人力资源管理、旅游经济、建筑与房地产经济、知识产权等10个专业类别。每个专业均设公共科目《经济基础知识》和专业科目《专业知识和实务》,题型均为客观题。应试人员须在连续两个考试年度内通过全部应试科目,方可取得相应级别资格证书。
(二)成绩滚动管理要求。
为进一步规范考试成绩滚动管理工作,初中级经济考试在报名中遵循如下规则:
1. 应试人员报名参加考试时,须确定唯一的一个考试级别、一个报考专业,并选择该级别和专业对应的《经济基础知识》和《专业知识和实务》科目中的一个或全部。
2. 应试人员确定报名参加某个级别和专业的考试后,须在连续的两个考试年度内通过全部应试科目,方可取得相应级别经济专业技术资格证书。应试人员取得证书后,相应级别和专业的成绩滚动期结束,应试人员不再具有滚动期内的有效成绩。
3. 在一个成绩滚动周期内,每名应试人员对应唯一的档案号。
4. 应试人员报名时,如果有尚在滚动期内的合格成绩,成绩管理的原则如下:
(1)应试人员报考与上一考试年度同一级别、同一专业的考试,旧的档案号沿用,合格成绩的滚动期接续计算;应试人员报名参加不同级别的考试,则之前的合格成绩滚动期结束。
(2)应试人员的公共科目合格成绩在滚动期内,可以沿用旧的档案号报名与该公共科目相同级别、与上一考试年度不同专业的考试,公共科目合格成绩的滚动期接续计算。
(3)应试人员的专业科目合格成绩在滚动期内,如果新报考专业与该成绩对应的专业不同,则该成绩的滚动期结束,应试人员获得一个新的档案号。此类应试人员需联系广西壮族自治区人事考试院,方能报名参考。
三、报考条件
根据《人力资源社会保障部关于印发经济专业技术资格规定和经济专业技术资格考试实施办法的通知》(人社部规〔2020〕1号)相关规定,凡遵守中华人民共和国宪法和法律,具有良好的道德品行和业务素质,符合初级、中级、高级经济专业技术资格考试报名条件的经济专业人员,均可报名参加相应级别的考试。具体如下:
(一)初级经济专业技术资格考试报考条件。
凡从事经济专业工作,具备国家教育部门认可的高中(含高中、中专、职高、技校,下同)以上学历,均可报名参加初级经济专业技术资格考试。
(二)中级经济专业技术资格考试报考条件。
具备下列条件之一者,可以报名参加中级经济专业技术资格考试:
1. 高中毕业并取得初级经济专业技术资格,从事相关专业工作满10年;
2. 具备大学专科学历,从事相关专业工作满6年;
3. 具备大学本科学历或学士学位,从事相关专业工作满4年;
4. 具备第二学士学位或研究生班毕业,从事相关专业工作满2年;
5. 具备硕士学位,从事相关专业工作满1年;
6. 具备博士学位。
(三)其他报考条件。
1. 知识产权专业人员于2020年前按照相关规定获得的知识产权领域初级职称,可作为报考知识产权专业中级经济考试的条件。
2. 取得导游资格、拍卖师、房地产经纪人协理、银行业专业人员初级职业资格,可对应初级经济专业技术资格;取得房地产估价师、咨询工程师(投资)、土地登记代理人、房地产经纪人、银行业专业人员中级职业资格,可对应中级经济专业技术资格;取得资产评估师、税务师职业资格等相关职业资格,可根据《经济专业人员职称评价基本标准条件》规定的学历、年限条件对应初级或中级经济专业技术资格,并可作为报名参加高一级经济专业技术资格考试的条件(广西考区相关职业资格对应关系参照《广西壮族自治区人力资源和社会保障厅关于在部分职业领域建立职称与专业技术类职业资格对应关系的通知》(桂人社规〔2019〕5号)执行)。
(四)报考相关问题的说明。
1. 关于“学历、学位”,是指属于国民教育系列或者国务院教育行政部门批准或认可的学历、学位,应有国家认可的文凭颁发权利的学校及其他教育机构所颁发的学历、学位证书为凭证,只取得肄业证书、结业证书不能报考。
大专及以上的学历和学位包括普通高等教育、成人高等教育、电大开放教育、网络远程教育、高等教育自学考试所颁发的学历或学位证书。
高中学历包括国家教育部门认可的高中、中等专业学校、职业高中、技工学校颁发的学历证书。
香港、澳门、台湾地区或者国外高等学校学历、学位须经教育部留学服务中心认证。
第二学士学位是指根据《高等学校培养第二学士学位生的试行办法》((87)教计字105号),在大学本科毕业获得一个学士学位后,再攻读且取得的列入国家第二学士学位招生计划的学士学位,在层次上属于大学本科后教育。一个本科学习阶段跨专业选修课程获得的“双学位”或一个本科学习阶段获得中外合作办学授予的“双学位”、“联合学位”,不属于第二学士学位。
2. 关于中级考试报考条件中“从事相关专业工作年限”,是指报考人员全职从事经济专业或者相关专业工作时间的总和。工作年限计算截止日期为考试当年度的12月31日。
报考人员从事的非经济专业或者相关专业工作时间不计算为专业工作年限。未取得毕业证书前的实习经历不计入专业工作年限。
取得第一学历并参加工作,再以函授、自学考试、远程教育等取得的大学专科及以上学历、学位报考,可累计取得第一学历至报考年度期间的实际经济专业或者相关专业工作年限。超过半年的脱产学习时间不计算为专业工作年限,脱产学习前后的实际专业工作年限可累计。
(五)学历核验。
如报考人员提交的境内高等教育学历学位信息无法通过在线核查(注册时系统自动核查),需登录中国高等教育学生信息网(学信网)进行验证/认证,下载相关PDF格式在线验证/认证报告,报名期间按系统提示上传相关验证/认证报告,接受人工核查,具体操作方式参见中国人事考试网考生问答栏目内容(www.cpta.com.cn/question/1525.html)。
由于办理学历学位验证/认证需要一定时间,报考人员应提前安排好验证/认证事宜,以免影响报名。
四、考试报名告知承诺
本次考试报名证明事项实行告知承诺制,具体内容如下:
(一)告知承诺制适用范围。
除“不适用告知承诺制”的人员外,其他所有报考人员均可选择“采用告知承诺制”或“不采用告知承诺制”方式报考。
“不适用告知承诺制”的人员是指在资格考试报名中存在虚假承诺行为的人员,以及被记入资格考试诚信档案库且在记录期内的人员。
报考人员选择“采用告知承诺制”方式报考,作出承诺后撤回承诺的,本年度该项考试中不再适用告知承诺制。
(二)告知承诺制要求。
报考人员选择“采用告知承诺制”方式报考,须承诺本人已经知晓报考所需的证明义务和证明内容,已经符合告知的报考条件,报考时所填报的信息真实、准确、完整、有效,愿意接受考试组织机构的核查,愿意承担不实承诺的法律责任并接受处理;须本人签署《专业技术人员职业资格考试报名证明事项告知承诺书》(电子文本,以下简称《告知承诺书》),一经提交即具有法律效力,不允许代为承诺。
“不采用告知承诺制”、“撤回承诺”、“不适用告知承诺制”的报考人员,身份信息、学历学位、所学专业等无法在线核查或在线核查未通过的报考人员,以及报考免试科目的报考人员属于重点核查与监管对象,须按系统提示上传相关证件、证明材料,经考试组织机构核查。
(三)核查与监管。
考试组织机构依法依规对报考人员进行核查与监管,在考前、考中和考后全程运用多种方式对报考人员承诺内容开展核查,采用随机抽查、重点监管等方式实施日常监管。
(四)不实承诺的处理。
1. 考试前,考试组织机构在核查中发现报考人员不符合报考条件的,给予其考试报名无效的处理,已缴费用不予退还。
2. 考试后,考试组织机构在核查或者日常监管中发现报考人员不符合报考条件的,取得考试成绩的,当次全部科目考试成绩无效;取得资格证书或者成绩证明的,资格证书或者成绩证明无效。
3. 报考人员有提供虚假证明材料或者以其他不正当手段取得相应资格证书或者成绩证明等严重违纪违规行为的,按照《专业技术人员资格考试违纪违规行为处理规定》(人力资源和社会保障部令第31号)第十条、第十二条处理。
五、报考流程
根据《人力资源社会保障部办公厅关于印发〈专业技术人员职业资格考试考务工作规程〉的通知》(人社厅发〔2021〕18号)要求,报考人员原则上应在工作地或居住地报名参加考试。
(一)网上填报信息。
网上填报时间:2025年7月28日8:00至8月7日17:00。报考人员登录广西人事考试网(www.gxpta.com.cn)或中国人事考试网(www.cpta.com.cn)—“全国专业技术人员资格考试报名服务平台”按流程进行网上填报信息。
1. 注册。首次报考人员按要求填写、提交注册信息。注册成功后,登录报名系统上传本人电子证件照(照片处理工具及使用说明可登录中国人事考试网【www.cpta.com.cn/tooldown.html】下载)。报考人员按照系统提示进行信息完善,报名系统对报考人员身份、学历学位等注册信息进行在线核查(核查结果在提交信息后24小时内反馈,建议报考人员提前完成注册),“账号信息完整度”为100%时才可进入考试报名。
2. 填写报考信息。按要求填选考试报考级别、报考专业、考试科目、核查点、工作单位、专业工作年限等信息。点击“保存”,进入确认报考信息环节。
3. 确认报考信息。报考人员确认所填选的信息准确无误,点击“确定”提交报考信息。
4. 选择报名办理方式。系统显示“采用告知承诺制”和“不采用告知承诺制”供报考人员选择。“不适用告知承诺制”的报考人员按系统提示上传相关证件、证明材料,进入网上人工核查环节。
(1)选择“采用告知承诺制”方式的报考人员,本人阅读并签署《告知承诺书》(电子文本)即完成网上填报信息。在线核查通过的,进入缴费环节;在线核查不通过的,进入网上人工核查环节。
(2)选择“不采用告知承诺制”方式或“撤回承诺”的报考人员,按系统提示上传相关证件、证明材料,进入网上人工核查环节。
5. 上传相关证件、证明材料。须上传相关证件、证明材料人员为:“不采用告知承诺制”、“撤回承诺”、“不适用告知承诺制”的报考人员,身份信息、学历学位、所学专业等无法在线核查或在线核查未通过的报考人员。
上述不同类型人员上传不同材料,按系统提示上传。上传材料包括:
(1)学历、学位在线验证/认证报告(PDF格式);
(2)身份证件;
(3)从事经济专业或者相关专业工作年限证明;
(4)专业技术资格证书或职业资格证书;
(5)知识产权职称证书。
材料上传成功后,等待考试组织机构进行网上人工核查。
6. 网上人工核查。核查时间: 2025年7月28日至8月8日17:00。考试组织机构(所选核查点)于2个工作日内完成核查。报考人员应及时登录报名系统查询核查结果。核查通过的进入缴费环节。
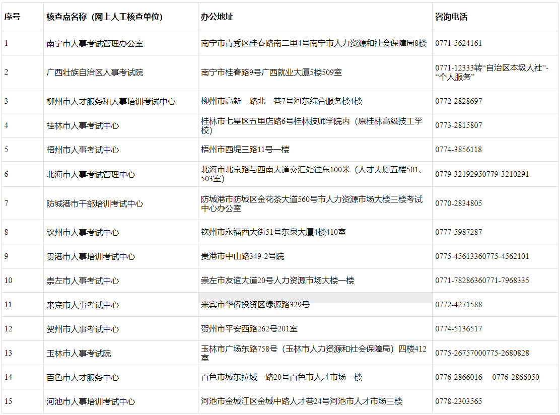
全区人事考试组织机构(核查点)地址及联系方式如下:

(二)网上缴费。
1. 网上缴费时间:2025年7月28日8:00至8月11日17:00。报考人员缴费成功,方为完成报名。未在规定时间内进行网上缴费的,视为自动放弃报考。报名缴费时间截止后不安排补报名,不退费。
2. 收费标准。按照《广西壮族自治区人力资源和社会保障厅关于公布执业药师资格考试等17项专业技术人员资格考试收费标准的通知》(桂人社发〔2016〕24号)规定,客观题考试费每人每科为61元。
3. 票据发放。考试费票据为电子票据,需要票据的报考人员,可登录“广西壮族自治区人事考试院电子票据发放平台”(https://nontax.helipay.com/nontax-app/gx/info?p=C1807681896)查询和打印个人考试费电子票据。票据查询和打印开始时间预计为当次考试报名结束1个月后,截止时间为2025年12月31日。
六、准考证打印
打印时间:2025年10月27日8:00至11月2日17:00。报考人员登录广西人事考试网(www.gxpta.com.cn)或中国人事考试网(www.cpta.com.cn)打印准考证(须打印出照片, 黑白、彩色均可,无照片或自贴照片无效)。准考证背面严禁打印或书写任何文字、图案等。
七、应试人员须知
(一)凭准考证和有效身份证件原件(居民身份证、社会保障卡等)进入考场,所持身份证件信息须与准考证载明的信息一致。请仔细核对准考证上的个人身份信息,如信息有误,应在考试前联系报名地考试机构申请办理更正。
(二)本次考试为电子化考试(机考),试题作答在计算机上进行。可在考前登录中国人事考试网,利用“电子化考试服务专区”中的模拟作答系统(预计于考前4周左右开放),提前熟悉考试作答界面和考试流程,掌握计算器等工具的使用。
(三)考试开始前30分钟可进入考场,考试开始5分钟后不得入场。入场后,须在“座次表”上签到,对号入座,保持安静,并将准考证和有效身份证件放在考位桌面,接受监考人员核查。同时,录入个人信息,登录机考系统。
(四)登录机考系统后,须在开始作答前测试并确认考试设备是否运行正常,核对考试科目、准考证号、座位号以及个人信息是否与准考证载明的内容一致。如遇设备故障、信息错误、显示异常等问题,请立即举手向监考人员报告。
(五)可携带的文具只限于黑色字迹的签字笔。考场备有草稿纸供应试人员使用,考后收回。严禁将手机、智能手表(手环)、蓝牙耳机等具有通信、记录、拍照、存储、传输功能的电子设备带至座位。
(六)作答前应认真阅读机考系统列明的《考场规则》、《操作指南》。考试过程中如遇考试机故障、网络故障等异常情况,应及时报告并听从监考人员安排。考试结束前,须确认作答结果是否完整。考试结束后,不得将草稿纸等考试相关材料带出考场。
(七)服从考场封闭管理,考场封闭至考试结束前15分钟,考场封闭期间原则上不得交卷离场。考试开始和结束时间以考点统一信号或机考系统计时器显示的结果为准。
(八)考试过程中应妥善保管好自己的作答信息,防止被他人抄袭,考试结束后被甄别为雷同答卷的,将给予成绩无效处理。考试过程中的违纪违规行为,按照《专业技术人员资格考试违纪违规行为处理规定》(人力资源和社会保障部令第31号)处理。涉嫌违法犯罪的,交公安机关依法处理。
八、成绩发布及考后核查
(一)12月2日前公布考试成绩,应试人员可登录中国人事考试网(www.cpta.com.cn)查询成绩。
(二)成绩公布后,考试组织机构通过中国高等教育学生信息网(学信网)、广西数智人社社保缴费业务系统、广西数字政务一体化平台等相关政务数据共享平台,对报考人员填报的学历、学位、所学专业、工作单位、工作年限等报考信息真实性开展考后核查和成绩监管。报考人员如有虚假承诺行为的,一经查实,将按相关规定处理。
(三)须进行考后重点核查的报考人员,考试组织机构通过拨打电话或发送短信的方式告知(注册报名服务平台时使用的手机号码),或在广西人事考试网“承诺核查”栏目公布名单,报考人员应积极配合考试组织机构核查,按要求提交核查所需相关证书、证明等材料,逾期拒不接受核查的,视为放弃考试资格。未接到通知或不在网上公布名单内的报考人员,不需提供核查材料。
九、证书办理
证书办理事宜请登录广西人事考试网证书领取专栏(http://www.gxpta.com.cn/kstd/zslq/)查询。
十、考试大纲
2025年版初中级经济考试大纲已在中国人事考试网(http://www.cpta.com.cn)公布。
十一、考试用书
应试人员可登录中国人事考试图书网(http://rsks.class.com.cn)订购初中级经济考试用书。
十二、咨询电话
网上报名考务咨询:0771—12333转“自治区本级人社”—“个人服务”。
附件:1. 2025年度初中级经济考试时间安排
2.从事经济专业或者相关专业工作年限证明
广西壮族自治区人事考试院
2025年7月15日
说明:因考试政策、内容不断变化与调整,正保会计网校提供的以上信息仅供参考,如有异议,请考生以官方部门公布的内容为准!
Copyright © 2000 - www.fawtography.com All Rights Reserved. 北京正保会计科技有限公司 版权所有
京B2-20200959 京ICP备20012371号-7 出版物经营许可证
京公网安备 11010802044457号
套餐D大额券
¥
去使用