24周年

财税实务 高薪就业 学历教育
APP下载
APP下载新用户扫码下载
立享专属优惠

安卓版本:8.7.95 苹果版本:8.7.95

开发者:北京正保会计科技有限公司

应用涉及权限:查看权限>

APP隐私政策:查看政策>

HD版本上线:点击下载>

"吴啊萍"事件背后,​寺庙是否需要办理税务登记?

来源: 正保会计网校 编辑:那个人 2022/07/25 14:15:54  字体:

选课中心

实务会员买一送一

选课中心

资料专区

需要的都在这里

资料专区

课程试听

抢先体验

课程试听

高薪就业

从零基础到经理

高薪就业

在南京玄奘寺地藏殿内,竟然供奉着一排侵华日军战犯的长生牌位。消息一出,国人震怒。如此恶劣的事件之下,该寺的主持究竟是何许人?寺庙是否需要办理税务登记呢?寺庙收取的香火钱、供奉钱是否需要交税呢?今天咱们就来借此案件来详细聊一聊。

01

南京玄奘寺主持是何许人

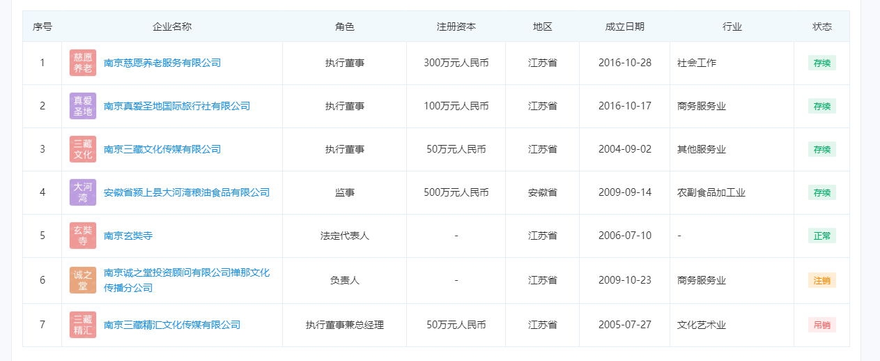
根据企查查公开资料显示,南京玄奘寺住持“传真”共在7家单位组织有任职,其中除了担任南京玄奘寺外。还有6家公司与他存在关联,有4家处于经营存续状态,包括南京慈愿养老服务有限公司(执行董事)、南京真爱圣地国际旅行社有限公司(执行董事)、南京三藏文化传媒有限公司(执行董事)、安徽省颍上县大河湾粮油食品有限公司(监事)有2家公司已经注销,分别是南京诚之堂投资顾问有限公司禅那文化传播分公司(负责人)和南京三藏精汇文化传媒有限公司(执行董事兼总经理)。

南京玄奘寺

通过进一步查阅可以发现,其最早投资公司的历史可以追溯到2004年9月2日,以80%的控股股东身份投资了南京三藏文化传媒有限公司,并持续经营至今。

而同时在2016年由他投资成立的南京慈愿养老服务有限公司(执行董事)、南京真爱圣地国际旅行社有限公司(执行董事),其持股比例分别为99%和100%。

有人会问,三家公司既然都是绝对控股股东,该主持为什么不全都100%持股?为什么要分别持股100%,99%和80%

这是因为《公司法》第五十八条规定,一个自然人只能投资设立一个一人有限责任公司。该一人有限责任公司不能投资设立新的一人有限责任公司。因此自然人投资只能设立一个独资公司,如果还想投资注册其他公司,必须要和别人(单位)共同投资的形式注册。

02

寺庙供奉牌位可以收费吗

经调查相关部门核实,在玄奘寺供奉侵华日军战犯牌位者为吴啊萍,出于错误认知和自私自利的动机供奉了包括“松井石根、谷寿夫、野田毅、田中军吉、向井敏明、华群(美国人明妮·魏特琳)”6人牌位,其中前5人侵华日军战犯。玄奘寺按照每个牌位每年100元标准、供奉5年共收费3000元,并开具了收据。

这里可能有人会疑问,寺庙等宗教场所可以向大众收费吗?收到的费用需要向国家上交或纳税吗?

要整明白上面这些问题,首先弄清楚寺庙的组织性质。

寺庙、道观等宗教场所一般属于非营利性质的社会团体法人。这其中有两个关键内容:非营利性质、法人属性。非营利性质表明该组织不以营利为主要目的,法人是指该组织具有法律拟制人(法人)的权利,可以独立的承担法律责任。

而营利性组织为了能够运转和持续,也需要大量的资金花费。其资金来源通常源于社会各界的资助捐赠等,以寺庙为例,通常以门票、供奉、捐款、周边产品等收费获得资金。这在全国的寺庙寺院中较为普标,以上海某寺为例, 香花券(门票)50元/张,此外还提供牌位供奉、法会、功德、香茗等多项服务,也都对应的收入。因此在寺庙供奉牌位而收费并不是某一家寺庙的行为,也并没有规定严禁该行为。

寺庙是否需要办理税务登记呢?寺庙收取的香火钱、供奉钱是否需要交税呢?

寺庙应当依法办理税务登记。根据《税收征管法》第十五条的规定,可以把需要税务登记的组织分为两大类:营利性组织和非营利性组织。营利性组织在工商部门注册成立(含个体户),均需要办理税务登记,包括企业及分支机构、个体工商户。

非营利性组织(寺庙、学校、社团等)在对应主管部门(非工商部门,如民政部注册)进行注册成立,其是否需要办理税务登记等由国务院规定。根据2017年8月26日国务院令第686号公布修订后的《宗教事务条例》第五十九条的规定,宗教团体、宗教院校、宗教活动场所应当依法办理税务登记。

寺庙收入一般属于免税收入。寺庙依法设立并办理税务登记,一般会按规定认定免税资格,其取得的香火钱、供奉钱等一般都属于免税收入,对于免税收入是无需缴纳企业所得税的

无论该主持是何许人,也不论吴某有多少个人的理由,在南京的寺庙中供奉南京大屠杀战犯牌位的事件都造成了恶劣的影响,严重伤害了中国人的民族感情。必将受到应有的法律制裁和惩罚。


本文为正保会计网校郭老师原创文章

转载请注明

了解更多财会专业知识欢迎加入实务畅学卡会员,带您学习财税知识,还有老师在线答疑,解你所惑。

点击了解详情>>    财会职业能力测评>>

更多推荐:

如何更正往期的增值税报表?

如何变更财务负责人?详细步骤来了!

印花税法7月起实施,附上印花税税目税率表

学员讨论(0

实务学习指南

回到顶部
折叠
网站地图

Copyright © 2000 - www.fawtography.com All Rights Reserved. 北京正保会计科技有限公司 版权所有

京B2-20200959 京ICP备20012371号-7 出版物经营许可证 京公网安备 11010802044457号

恭喜你!获得专属大额券!

套餐D大额券

去使用