喜报|2020年初、中、高级会计资格考试金银榜揭晓
2020年度全国会计专业技术初、中、高级资格考试金银榜出炉,共有406人入围金榜,有3101人入围银榜。真是喜大普奔、可喜可贺,也让我们来康康正保会计网校的学员们有怎样优秀的表现吧~


为鼓励优秀考生,不断提升职业荣誉感,同时对具有发展潜质的考生进行考试后跟踪评价,财政部会计资格评价中心现推出全国会计专业技术初、中、高级资格考试年度金银榜,即:将一个考试周期内全科成绩合格、总分名列全国前100名(含并列者,下同)的考生列入全国金榜,成绩名列考试所在省、自治区、直辖市前30名(不含金榜人员)的考生列入银榜。
该计划旨在建立会计资格考试后续跟踪评价机制,为优秀会计人员提供职业提升、发展的平台。

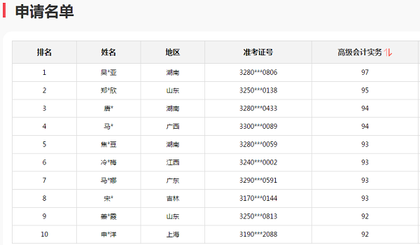
经统计核查,正保会计网校已有多位学员入围全国会计专业技术初、中、高级资格考试金银榜,百分、高分学员更是层出不穷。一张图可放不下,以下的喜报可不是全部的学员哦,报分活动还在持续进行ing。。。













没有随便的成功,一切的运气成分都是有因有果。各位学员取得如此优异的成绩,一定是自身勤奋努力的成果,同时也与正保会计网校庞大的师资储备力量和各位老师的辛勤辅导分不开。
今年的职称考试就告一段落了,通过考试的学员,继教酱真替你们开心哦,从今以后就可“持证上岗”了。特别提醒,参加全国会计专业技术资格考试等会计相关考试,每通过一科考试或被录取的,可折算为90学分,也就是说,是可以抵扣今年的继续教育学分哦~~但只能抵扣一年哦,明年依然要来找继教酱参加继续教育哦~~
一年一度的“爽”11大促火热来袭,正保会计网校为回馈广大考生,优惠三连击,领跑新考季!这么好的辅导效果,这么优惠的力度。让我们共同努力,相信你也能像他们一样梦想成真!




新用户扫码下载

新用户扫码下载