扫码下载APP
及时接收新鲜考试资讯及
备考信息
号外!号外!
正保会计网校2022年高级会计师考试
【有奖征文】及【报分有奖】活动已结束,获奖名单公布啦!
有奖征文活动:
经过投票和网校专家评选,正保会计网校2022年高级会计师考试【有奖征文】活动获奖名单如下:
奖励:获得实物奖4名,奖励正小保便携高颜值吸管保温杯500ml,实物奖励将有客服人员联系收集快递信息,金币奖励已进行发放!请注意查收论坛短消息!
奖励:其他所有参与投稿学员都可获得金币奖励5000枚金币奖励,可用于兑换正保币或学费!
恭喜获奖者!
感谢你们用自己的经历和经验带给大家正能量!
“备考经验分享”一直是网校考后最火爆的栏目
每年都有很多热情考友分享自己的成功经验和备考心得,为下一届高级会计师们点一盏明灯
每年的经验分享帖都能征集到数千条宝贵的学习经验,主题帖更是会被浏览百万次以上!
没有获奖的学员也不要气馁,你们的经历同样感染着一群会计人!

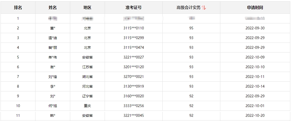
报分有奖活动:
奖励:参与报分有奖活动,前三名的考生全部获得网校周边定制空气炸锅。
奖励:其他所有参与了报分有奖活动的网校注册学员,均可获得100%免费获取评审论文、业绩体验课程。
希望各位考生,接下来全力以赴准备高会评审,祝大家早日取得高级会计职称证书!
Copyright © 2000 - www.fawtography.com All Rights Reserved. 北京正保会计科技有限公司 版权所有
京B2-20200959 京ICP备20012371号-7 出版物经营许可证
京公网安备 11010802044457号
套餐D大额券
¥
去使用