扫码下载APP
及时接收最新考试资讯及
备考信息
内容摘要:湖北省2022年初级会计考试时间确定,初级会计考试时间:8月1日至8月7日,准考证打印时间:7月22日至7月28日,补打印时间:7月29日14时后,其他详细内容查看以下通知原文:
关注30日通知:事关考试!湖北武汉2022年初级会计职称考试部分考点整体迁移
关于调整2022年度全国会计专业技术初、高级资格考试考务日程及有关事项的公告
湖北考区各位考生:
按照财政部办公厅《关于调整2022年度全国会计专业技术初、高级资格考试考务日程安排及有关事项的通知》(财办会〔2022〕23号)要求,湖北省2022年度全国会计专业技术初、高级资格考试调整为2022年8月举行,考试采用无纸化方式。现就考试安排及有关事项公告如下:
一、考试时间
2022年度全国会计专业技术初级资格考试(以下简称初级资格考试)于8月1日至7日举行,《初级会计实务》科目考试时长为105分钟,《经济法基础》科目考试时长为75分钟,两个科目连续考试,时间不能混用。2022年度全国会计专业技术高级资格考试(以下简称高级资格考试)于8月7日举行。具体安排如下:
考生考试的详细批次、时间、地点以及参加考试的防疫要求以准考证上的信息为准。
二、准考证打印
考生应于2022年7月22日至28日期间,登录财政部“全国会计资格评价网”(网址:,下同),自行打印准考证。错过上述时段的,请于7月29日14时后上网进行补打。
三、成绩查询
初级资格考试成绩将于2022年9月10日前公布,高级资格考试成绩于2022年9月30日前公布。届时,考生可凭身份证和准考证号登录“全国会计资格评价网”查询。
四、退费申请
确因考试时间调整无法参加考试的考生,可登录“湖北省2022年会计专业技术初级资格考试退费申请”系统申请退费,系统开放时间为2022年6月29日00:00:00至7月3日23:59:59。请用报名时所填写的手机号码完成身份认证,按照系统提示完成退费申请。逾期申请的,不再办理退费。
五、防疫要求
(一)考生现场体温检测须低于37.3℃,并凭疫苗接种记录、“健康码”绿码、通信行程卡、考前48小时内核酸检测阴性证明、身份证原件和准考证参加考试。此外,若通信行程卡带有*号,或近14天有省外旅居史的考生,须提供首场考试前3天内2次(2次采样间隔至少24小时,最后一次采样须在考点所在地医疗机构进行)核酸检测阴性证明。
(二)入场时间提前至开考前60分钟,考生除入场核验身份时按要求临时摘除口罩外,须全程佩戴口罩。进考场时,应主动出示相关证件材料,接受体温测量,有序排队,相互保持1米以上间距,配合入场核验。考生请勿提前入校“踩点”,考前各考点会张贴路线图和考场分布图,并有工作人员进行现场引导。
(三)我省考试疫情防控实行属地管理,一地一策,为保证考生自身权益,请及时登录省财政厅公众网和考试所在市州财政部门官网查看考试及疫情防控相关通知、公告,以免影响考试。
(四)本次考试实行健康承诺制,考生应承诺已知悉并符合省及所在市州考试疫情防控要求。如弄虚作假或隐瞒不报的按有关规定严肃处理,依法承担相关法律责任。
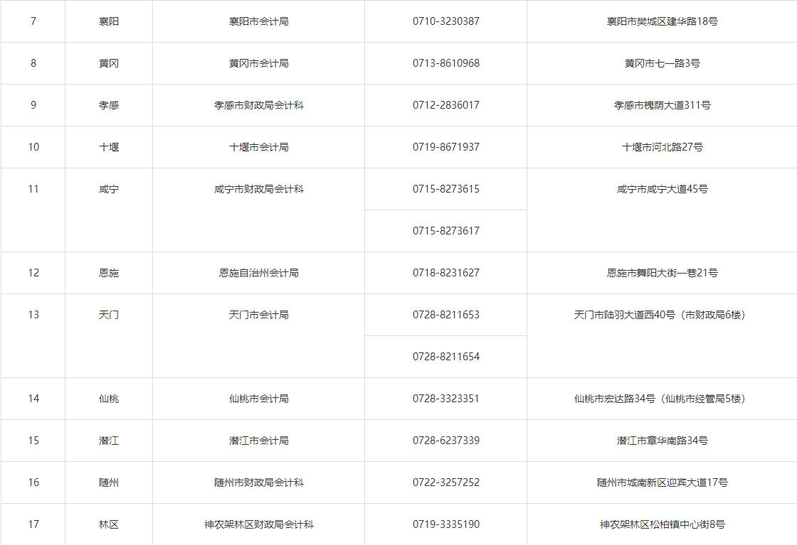
全省各市州财政部门会计资格考试管理机构联系方式


湖北省会计专业技术资格考试领导小组办公室
2022年6月27日
说明:因考试政策、内容不断变化与调整,正保会计网校提供的以上信息仅供参考,如有异议,请考生以官方部门公布的内容为准!
自初级会计考试时间延期后,很多小伙伴身在备考初级会计职称,心早就不知道飞到哪里去了吧?这次考试时间终于定下来啦!快来安心备考冲刺吧!
正保会计网校重磅推出的初级会计职称【考前刷题集训班】149元/2科,新人购课立减50元,实战模考,考前串讲,决胜初级!点击了解更多详情或选购>
Copyright © 2000 - www.fawtography.com All Rights Reserved. 北京正保会计科技有限公司 版权所有
京B2-20200959 京ICP备20012371号-7 出版物经营许可证
京公网安备 11010802044457号
套餐D大额券
¥
去使用