扫码下载APP
及时接收最新考试资讯及
备考信息
距离考试只剩下50天,大家复习怎么样了?不管现在进度如何,都一定要使用机考模拟系统进行考试练习了!这里告诉大家一个好消息:2020年税务师万人模考大赛第一次模考正式开启!所有考生均可免费参加!>>点击参加万人模考
参加万人模考,不仅可以提前熟悉机考答题流程以及机考模式,还可以与万人PK,提前检测自己的复习成果,以便做到查漏补缺,在今后的冲刺备考中更有重点和方向!另外,还有机会赢得口红、计算器等惊喜好礼!>>点击参加万人模考
第一次模考:2020年9月14日10:00-9月23日20:00 (火热进行中)
第二次模考:2020年9月28日10:00-10月20日20:00
自由模考:2020年9月28日10:00-10月20日20:00

【参与入口:】2020税务师万人模考大赛>>
【参与须知:】选择要参加的考试科目,仔细阅读考试须知,确认后即可开始考试。

答题15分钟以上成绩可以计入排行榜,按照答题时间顺序优先完成考试且分数最高者按照排名会发放奖品哦!
奖品设置:

温馨提醒:大家一定要认真答题哦,每个科目只有一次答题机会,答完之后就不能再次进行模考了哦~所以大家要要认真答题,不能浪费这次机会~

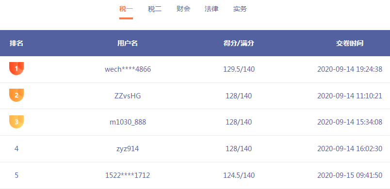
截至目前,已经有1079人参与了《税法一》科目的模考,排名第一的考生取得了129.5分!想不想来测试一下自己的水平呢?快来参加吧!>>点击参加
活动规则:
1、答题15分钟以上,成绩计入排行榜。恶意刷分者,成绩作废,奖品不予发放;
2、以上排名仅含客观题成绩,按照答题时间顺序优先完成考试且分数最高者按照排名发放奖品;
3、获奖学员请在每次模考结束后的10个工作日内联系客服兑奖,逾期奖品不予发放。恶意刷分者,成绩作废。
4、全真模考完全遵照考试时间,所有模考免费参加,均可在电脑端、移动端做题;交卷后即可查看成绩及答题记录,正确答案及解析将在考试结束后提供。
5、自由模考随机组卷,仿真考场,可反复练习;提交试卷后即可看到答案解析。
参加完模考后,网校会有老师为大家直播进行试卷点评,传授答题技巧。让大家清楚自己究竟错在哪里,让大家不留疑问上考场!
| 第一次模考 | |||
| 科目 | 老师 | 时间 | 内容介绍 |
| 动员大会 | 陈立文 | 2020年9月13日 19:00-20:00 | 模考动员大会 介绍模考 |
| 税法一 | 葛瑞 | 2020年9月24日 20:00-21:00 | 一模解析直播 |
| 税法二 | 乔贵涛 | 2020年9月25日 20:00-21:00 | 一模解析直播 |
| 财务与会计 | 黄坤 | 2020年9月23日 20:00-21:00 | 一模解析直播 |
| 涉税服务相关法律 | 杨善长 | 2020年9月24日 19:00-20:00 | 一模解析直播 |
| 涉税服务实务 | 陈立文 | 2020年9月25日 19:00-20:00 | 一模解析直播 |
参加完模考之后,如果发现自己的知识点掌握得不牢固,备考抓不住重点,不会做题,想要在考前这几十天里高效备考、迅速提升的话,建议大家加入考前点题密训班。考前点题密训班集结多位口碑老师,课程设置了考情分析、刷题密训、考点突破、摸底考试及考前预测五大环节,每一环节层层深入,带你巩固考试的重点,考试时才能更得心应手!>>点击了解详情
如果考生觉得自己答题分数不理想,还存在一些薄弱的知识点没有把握好,那一定要在最后的几十天里进行补救!2020年税务师考前点题密训班限时优惠开启!在原价的基础上,单科立减200元;购买2科及以上再享8折优惠!10月10日提价!>>立即购买
更多推荐:
Copyright © 2000 - www.fawtography.com All Rights Reserved. 北京正保会计科技有限公司 版权所有
京B2-20200959 京ICP备20012371号-7 出版物经营许可证
京公网安备 11010802044457号
套餐D大额券
¥
去使用