扫码下载APP
及时接收最新考试资讯及
备考信息
| 准考证打印入口 | 打印流程 | 常见问题&注意事项 |
2025年中级会计考试时间为9月6日-8日,距离考试越来越近,提前打印好准考证非常重要!以下整理了中级会计考试准考证打印一般流程,大家可以参考:
【第一步】、进入“全国会计人员统一服务管理平台”,登录个人账号后,点击“会计专业技术资格考试”。

【第二步】、点击“准考证打印”,点击“进入”。


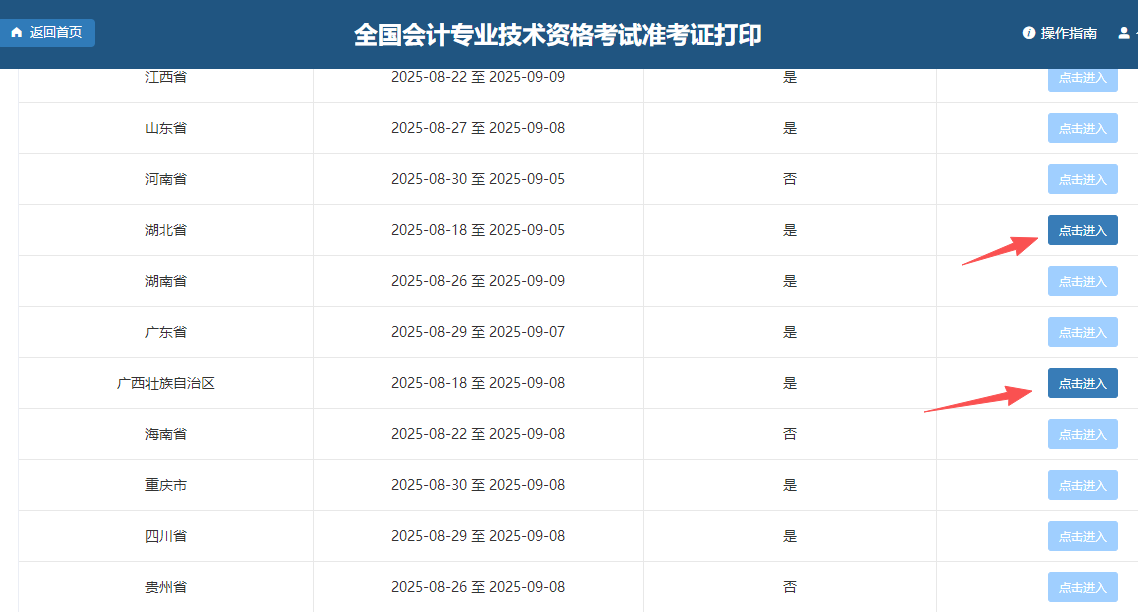
【第三步】、选择省份,待当地准考证打印入口开通后,“点击进入”即可查询并打印准考证。

【最后】核对准考证上的姓名、照片、准考证号、考试地点等重要信息,确认无误后进行打印。
切记:没有准考证,肯定进不了考场!所以,请广大考生务必及时打印,并认真、仔细的查看准考证上的要求,严格按照规定去做,千万不要因为准考证而白白浪费一年的努力!
更多推荐:
Copyright © 2000 - www.fawtography.com All Rights Reserved. 北京正保会计科技有限公司 版权所有
京B2-20200959 京ICP备20012371号-7 出版物经营许可证
京公网安备 11010802044457号
套餐D大额券
¥
去使用