扫码下载APP
及时接收最新考试资讯及
备考信息
| 报名入口 | 报名流程 | 常见问题 | 照片处理 |
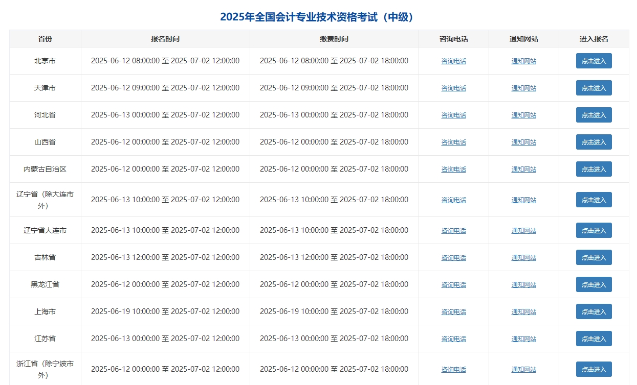
2025年中级会计职称报名时间为6月12日至7月2日,考试报名统一在7月2日12:00截止,缴费统一在7月2日18:00截止(报名入口>),各地具体报名时间有所区别,请及时报名!网校为大家整理了2025年中级会计职称报名流程,带你一文搞懂!

(以上流程图仅供参考,以实际为准⬆)
第一步:登录“全国会计人员统一服务管理平台”,选择“会计专业技术资格考试”

注:部分地区要求考生先完成信息采集后才能报名!
第二步:填写相关信息并登录

第三步:选择【网上报名】,点击“2025年全国会计专业技术资格考试(中级)”并进入


第四步:选择报考地区

第五步:阅读相关网上报名提示,并选择“完全同意”和“已阅读并知晓”

第六步:阅读相关通知并选择“已阅读并知晓”
第七步:选择报考条件,点击下一步

第八步:填写报名信息,完成后选择“确认无误,下一步”
(请注意要如实填写,否则资格审核可能无法通过哦~)
第九步:确认填写的报考信息并选择“确认无误,下一步”
第十步:直接缴费或等待进行资格审核
直接缴费:缴费成功即报名成功(这种情况一般是进行考后审核)
等待报考点进行资格审核:审核通过后进行缴费,缴费完成后即报名成功!
注意:各地具体报名流程所有区别,请以当地具体要求为准!如果报名有问题,请及时联系当地财政部门,以免报名失败!
说明:因考试政策、内容不断变化与调整,正保会计网校提供的以上信息仅供参考,如有异议,请考生以官方部门公布的内容为准!
Copyright © 2000 - www.fawtography.com All Rights Reserved. 北京正保会计科技有限公司 版权所有
京B2-20200959 京ICP备20012371号-7 出版物经营许可证
京公网安备 11010802044457号
套餐D大额券
¥
去使用