扫码下载APP
及时接收新鲜考试资讯及
备考信息
2023年广西高会报名时间什么时候开始?广西2023高级会计师报考相关信息暂未公布,打算考高会的考生可参考2022高会报名相关信息,提前准备2023年高会报名!

2022年广西高会报名时间报名时间:1月5日0:00-1月24日14:00
担心错过报名时间?微信扫描二维码预约报名提醒!预约提醒成功后,2023年高会报名时间公布后您将收到微信通知。

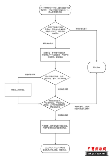
2022年广西高会报名流程图
2022年度全国会计专业技术高级资格考试广西考区报名流程图

相关政策:《关于2022年度全国会计专业技术高级资格考试广西考区考务日程安排及有关事项的通知》
说明:因考试政策、内容不断变化与调整,正保会计网校提供的以上信息仅供参考,如有异议请考生以官方部门公布的内容为准!
Copyright © 2000 - www.fawtography.com All Rights Reserved. 北京正保会计科技有限公司 版权所有
京B2-20200959 京ICP备20012371号-7 出版物经营许可证
京公网安备 11010802044457号
套餐D大额券
¥
去使用