扫码下载APP
及时接收新鲜考试资讯及
备考信息
高级会计师考试成绩合格后,接下来就是评审申报啦!你准备的咋样了?想不想听听专业老师的指导呢?现在机会来啦!报分即可免费领取30天学习期的评审课程及各省评审资料,还等什么?赶紧报分吧!
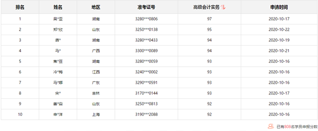
截至目前,在网校高会报分有奖活动中,已超800名高会学员申报分数,其中90分以上的学员高达45位学员,80分以上的学员高达268位,你考了多少分?榜位是多少?立即参与报分,免费领取评审课程及资料>>

高会考试通过后再接再厉备战高会评审
高会实行考评结合的方式,考试通过后接下来就是评审工作,参加高会评审需要做哪些准备呢?
各省一般评审前要准备好的各项证书如下:
申报人的身份证、学历证书、学位证书、聘书(或聘用合同、聘用证明)、《高级会计实务》考试合格证书原件及复印件、外语水平材料、计算机水平材料及其他相关书面证明材料或者还要求提供继续教育证明材料,另还需在专业期刊发表1-3篇论文或著作。
根据发布的评审政策,各省对于参评人员的申报条件(学历及资历)、评审条件(专业理论知识、工作经历与业务能力、论文论著、业绩与成果等)、破格条件各有差异。
可参考:2020年各省高级会计师资格评审申报时间及政策汇总>>
网校重磅推出高级会计师论文班,从论文选题到发表,全程一对一指导,更有一对一业绩指导,还有评审答辩课程,你的论文不再是难题,让你评审时脱颖而出!想获得论文方面的指导,比如论文选题、论文发表。快来网校论文班寻求支援>>
Copyright © 2000 - www.fawtography.com All Rights Reserved. 北京正保会计科技有限公司 版权所有
京B2-20200959 京ICP备20012371号-7 出版物经营许可证
京公网安备 11010802044457号
套餐D大额券
¥
去使用