扫码下载APP
及时接收最新考试资讯及
备考信息
深圳市2017初级会计职称证书领取时间从3月5日起至3月23日结束,为方便考生和提升服务,证书和考生信息表采取邮政快递和现场领取两种方式发放,考生可自愿选择。选择邮政快递的考生,只需登录深圳市考试院网站“网上业务办理系统”进行申请即可(24小时开通),具体操作流程如下。
一、考生登录
1、已在统一用户平台注册
输入统一用户平台用户名及密码即可登录。

2、未在统一用户平台注册
未在统一用户平台注册,点击用户注册跳转至用户注册页面。(注册及相关操作可点击以下链接,查看附件4)
深圳市《关于发放2017年度会计专业技术初级资格证书的通知》

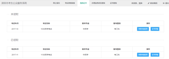
二、我的证书
1、查看证书邮寄状态
点击"我的证书"可以进入查看当前已经领取和未领取的证书状态

2、修改邮寄信息申请
点击未领取证书后面的"申请邮寄"可以进入如下证书邮递申请页面,填写资料后保存

3、查看邮寄详情
点击下图中"查看申请信息"可以查看申请邮寄的信息;

点击下图中"取消"按钮可以撤销本次证书邮寄申请。

4、修改邮寄申请
点击下图中"修改"按钮可以对邮寄信息进行修改

说明:因考试政策、内容不断变化与调整,正保会计网校提供的以上信息仅供参考,如有异议,请考生以权威部门公布的内容为准!
Copyright © 2000 - www.fawtography.com All Rights Reserved. 北京正保会计科技有限公司 版权所有
京B2-20200959 京ICP备20012371号-7 出版物经营许可证
京公网安备 11010802044457号