扫码下载APP
及时接收最新考试资讯及
备考信息
2020初级会计考试成绩于9月29日可查询,不少考生查完表示:谢天谢地,60分万岁!终于过了,考前一个星期没白熬夜!还有一些95+考生表示:再少错一道题好了,不枉我备考这么久,那么2020初级会计考试考60分和95分到底有何区别?
2020年初级会计职称考试各科目合格标准暂未公布,各位初级会计考生可参考2019年初级会计职称考试合格标准,各科目合格标准均为60分,其实只要是超过60分,对于拿下初级会计证书是没有影响的,不同之处体现在以下几个方面:
一、正保会计网校奖学金
为了给广大学员营造更浓厚的学习氛围,鼓励学员刻苦钻研、努力奋进,网校秉承“公开标准、公平竞争”的原则,推出年总奖金额高达50万元的“正保会计网校奖学金”,只要是报名2020年网校初级会计辅导课程的学员,都有机会获得奖学金。点击申报奖学金>>

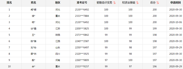
1、总成绩第1名奖励人民币1万元
2、总成绩第2名、第3名分别奖励人民币5000元、2000元
3、总成绩第4名至第10名各奖励人民币500元
4、从其他初级通过者中随机抽取20名幸运学员,每人奖励人民币100元
二、财政部给予奖励
为了鼓励成绩优秀的考生,配合开展对具有发展潜质的考生进行跟踪评价,从2008年起,财政部会计资格评价中心推出了“全国会计专业技术资格考试金银榜”,加入计划后,将获赠阅《管理会计师&会计职业生涯》(电子杂志)等资讯信息,并有机会优先获得财政部会计资格评价中心提供的活动/项目名额。

上榜是对初级会计考生学习能力和专业水平的一种承认,求职的时候上榜考生会更有底气,表现出的竞争力会比普通考生更强,进入企业后也会更得看重,有机会被公司重点培养,拥有更好的职业前景。
三、政府给予现金奖励
山东济南社会保险事业中心传来好消息:持初级证书(2018年1月1日以后取得的),并缴纳失业保险满一年,可申领职业技能提升补贴,每人1000元!

还有好多地区已经有相关政策了,具体可咨询当地财政局。
四 、企业给予奖金鼓励
好多企业现在已经有了完整的证书奖励体系,公司会为了激励员工多学习新的知识,考更高一级的职称,每考到一个证书都会有相应的奖励金,甚至有公司都会给考过初级的员工奖励500元!
而且有很多应届生要去应聘财务相关职位时,如果你的分数高到进了金银榜,就可以在简历上展现出来,对于一批没有经验的小白来说,分数高就是你掌握的专业知识的能力表现,就会比其他人的竞争力强。
用心认真备考,好好学习总归是百利而无一害的。2021年初级会计考试报名在即,网校为方便广大学员报考,特推出网校预约报名时间提醒:
2021初级会计报名时间公布后,网校将及时给您发送微信通知,敬请关注!
扫码关注“正保会计网校公众号”->点击“立即订阅”->订阅即可(微信需绑定公众号才能成功接收提醒)

备注:已关注/绑定网校公众号的学员仍需再次扫描以上二维码,以便系统能记录此次预约提醒操作!
2021初级新课开通,新课早鸟价全场9折!折后再减价值50元正保币!报2021高效实验班,即可获赠价值480元超值精品班和200元的无纸化模拟系统,购课即可学习2020年同款课程哦,还在等什么,学习要趁早,备考正当时,点击了解高效实验班详情>>
Copyright © 2000 - www.fawtography.com All Rights Reserved. 北京正保会计科技有限公司 版权所有
京B2-20200959 京ICP备20012371号-7 出版物经营许可证
京公网安备 11010802044457号
套餐D大额券
¥
去使用